Görüntüleme sayısı:0 Yazar:Bu siteyi düzenle Gönderildi: 2025-03-20 Kaynak:Bu site
5 eksenli bir CNC makinesinin inanılmaz hassasiyetle oldukça karmaşık parçalar oluşturabileceğini anlamak, biliyor muydunuz ? 5 eksenli CNC koordinat sistemini bu özelliğin kilidini açmanın anahtarıdır.
Modern üretimde, CNC makineleri havacılık, otomotiv ve tıbbi gibi endüstriler arasında parçalar üretmede kritik bir rol oynamaktadır.
Bu yazıda, araştıracağız . 5 eksenli CNC koordinat sisteminin nasıl çalıştığını ve kesin, verimli üretim için neden bu kadar önemli olduğunu

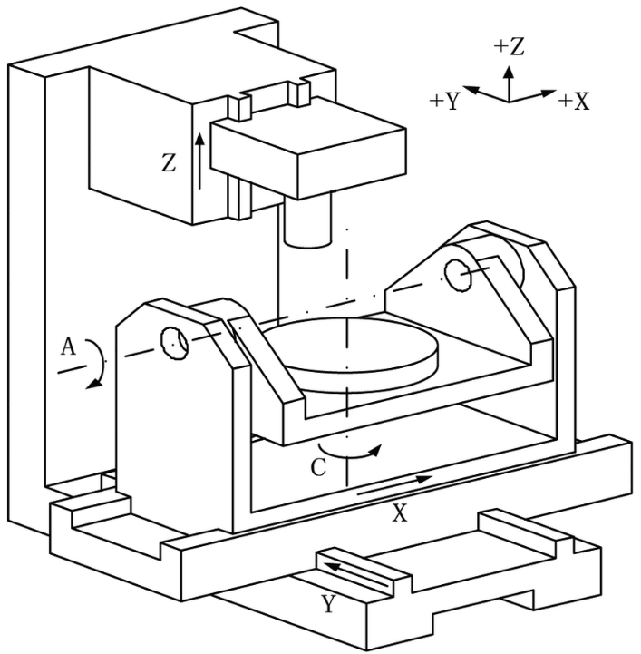
5 eksenli CNC koordinat sistemi, bir CNC makinesinin bir kesme aletini beş farklı eksen boyunca hareket ettirme yeteneğini ifade eder. Bu, karmaşık parçaların hassas üretimine izin verir. Tipik olarak üç eksen üzerinde çalışan geleneksel CNC sistemlerinin aksine, 5 eksenli sistem, esnekliği ve hassasiyeti artıran iki ek dönme ekseni içerir.
X , Y, Z eksenleri üç birincil doğrusal hareketi temsil eder:
X ekseni : Aracı soldan sağa hareket ettirir.
Y ekseni : Aracı önden arkaya hareket ettirir.
Z ekseni : Aleti yukarı ve aşağı hareket ettirir.
Bu eksenler temel makine hareketi için gereklidir ve daha karmaşık kesimlerin temelidir.
5 eksenli bir CNC sisteminde , araç sadece doğrusal olarak hareket etmekle kalmaz, aynı zamanda iki ek eksen etrafında da dönebilir:
A ekseni : aracı x ekseninin etrafındaki döndürür.
B ekseni : aracı y ekseni etrafında döndürür.
Bu dönme hareketi, aracın iş parçasına çeşitli açılardan yaklaşmasını sağlar, bu da iş parçasını yeniden konumlandırmadan karmaşık kesimleri mümkün kılar.
5 eksenli bir CNC sisteminde , beş eksenin tümü -x, y, z, a ve b -iş. Makine, araç sabit kalırken iş parçasını döndürebilir ve birden fazla açıdan ayrıntılı kesimlere izin verir. Bu sinerji, sadece üç eksenle elde edilmesi zor olacak karmaşık geometriler ve parçalar yaratmak için çok önemlidir.
5 eksenli CNC sistemi , son derece ayrıntılı kesimlere ve karmaşık geometrilere izin vererek hassasiyeti önemli ölçüde artırır. Kesme aletini beş eksen boyunca hareket ettirerek, daha basit 3 eksenli sistemlerle meydana gelebilecek hataları azaltır. Bu özellik özellikle türbin bıçakları veya tıbbi implantlar gibi sıkı toleranslar gerektiren karmaşık parçalarla çalışırken önemlidir.
İş parçasına çeşitli açılardan yaklaşma yeteneği ile 5 eksenli sistem , kesintilerin daha hassas olmasını sağlar, yeniden çalışma ihtiyacını en aza indirir ve genel parça kalitesini iyileştirir.
5 eksenli sistemin temel avantajlarından biri, kurulum süresini azaltma yeteneğidir. Geleneksel işlemede, karmaşık parçalar genellikle manuel olarak yeniden konumlandırılması için birden fazla kurulum gerektirir. Bununla birlikte, 5 eksenli makine, iş parçasını hareket ettirmeden çok açılı kesimler yapabilir ve zaman alıcı ayarlamalara olan ihtiyacı azaltır.
Daha az kurulum, artan verimlilik ve daha hızlı üretim süreleri anlamına gelir, bu da zaman ve maliyetin havacılık ve otomotiv üretimi gibi kritik faktörler olduğu endüstrilerde gereklidir.
5 eksenli CNC koordinat sistemi, birden fazla açı ve yüksek hassasiyet gerektiren karmaşık parçaları işlemek için mükemmeldir. gibi bileşenler Gears , havacılık parçaları ve tıbbi araçlar , makinenin karmaşık şekilleri ve sıkı toleransları işleme yeteneğinden yararlanır. Sistem, parçayı yeniden konumlandırmadan, hassasiyeti artırmadan ve üretim süresini azaltmadan çeşitli açılardan kesilmeye izin verir.
Örneğin, havacılık endüstrisindeki türbin bıçakları gibi parçalar, 5 eksenli CNC makineleri ile kolayca elde edilen hassas kesintiler gerektirir..
5-axis CNC machines are essential for creating molds and tooling, where precision and intricate shapes are required. Kalıp yapımında, iş parçasını çoklu açılarda döndürme yeteneği, alt kesimler veya ayrıntılı dokular gibi kalıplara karmaşık özelliklerin eklenmesini sağlar. The 5-axis system enhances the ability to produce high-quality, accurate molds for industries like automotive and plastic injection molding.
The 5-axis CNC system is often used in prototyping and customization, allowing manufacturers to quickly produce custom parts. İster bir kerelik kısımlar ister küçük üretim çalışmaları için olsun, 5 eksenli makinelerin esnekliği, kesin özellikleri karşılayan prototipler oluşturmaya yardımcı olur. Industries like medical and automotive benefit greatly from this ability to rapidly design and modify parts.
5 eksenli işlemenin faydalarını en üst düzeye çıkarmak için doğru kurulumlar sağlamak önemlidir. İşte bazı ipuçları:
Hassasiyet sağlamak için makine kalibrasyonunu düzenli olarak kontrol edin .
Parçayı sabitlemek için hataları en aza indirmek için uygun sabitleştirme kullanın .
Döngü sürelerini azaltmak ve doğruluğu artırmak için Yazılım entegrasyonu, makinenin sorunsuz çalışmasını sağlayarak verimli araç yolları oluşturmaya yardımcı olur. CAD ve CAM yazılımı kullanarak kesme yollarını optimize edin .
Doğru kurulumlara ve verimli makine programlamasına odaklanarak, gücünü tamamen kullanacaksınız 5 eksenli CNC sisteminin .
Seçtiğiniz malzeme işleme sonuçlarını önemli ölçüde etkileyebilir. için yaygın malzemeler 5 eksenli CNC işleme şunları içerir:
Metaller : Alüminyum, çelik ve titanyum, yüksek mukavemetli parçalar için yaygın olarak kullanılır.
Plastikler : ABS ve PVC gibi polimerlerin makinesinin daha kolaydır, ancak yine de iyi bir hassasiyet sunar.
Kompozitler : Karbon fiber gibi malzemeler özel araçlar gerektirir, ancak hafif, yüksek performanslı parçalar için mükemmeldir.
Doğru malzemeyi seçmek, daha yumuşak kesim, daha uzun takım ömrü ve daha iyi parça kalitesi sağlar.
5 eksenli bir CNC makinesinin işletilmesi özel beceriler gerektirir. Uygun eğitim: için kritiktir:
Makine yeteneklerini ve sınırlarını anlamak.
CAD modellerini yorumlamak ve bunları CAM yazılımına dönüştürmek.
Karmaşık kurulumları güvenli bir şekilde ele almak ve güvenlik standartlarını sağlamak.
Eğitim, operatörlerin hataları en aza indirirken ve verimliliği artırırken makineden en iyi sonuçları alabilmelerini sağlar.
3 eksenli ve 5 eksenli CNC makineleri arasındaki temel fark, hareketi kontrol eden eksen sayısında yatmaktadır:
3 Eksenli CNC : Kesme aletini üç eksen boyunca hareket ettirir -x, y, z- Temel kesimleri basit, doğrusal bir yöne doğru hareket ettirir.
5 Eksenli CNC : Üç doğrusal eksene ek olarak, aracın birden fazla açıyı döndürmesine ve erişmesine izin veren iki dönme ekseni ( A ve B ) içerir .
Bu eklenen dönme hareketi, 5 eksenli CNC makinesinin çok daha karmaşık kesimler yapmasını, karmaşık şekilleri kullanmasını ve birden fazla kurulum ihtiyacını azaltmasını sağlar. Bu, parçaların yüksek hassasiyet ve çoklu açılar gerektirdiği havacılık ve tıbbi gibi endüstriler için gereklidir.
4 eksenli CNC makinesi, 3 eksenli bir makineye kıyasla bir ek dönme ekseni vardır . Dördüncü eksen tipik olarak x ekseni (A ekseni) etrafında döner ve kesme aracı sabit kalırken iş parçasının dönmesine izin verir. 4 Eksenli CNC : 3 eksenli bir makineden daha fazla esneklik sunar, ancak yine de iş parçasının diğer açılardan kesimler için yeniden konumlandırılmasını gerektirir. 5 eksenli CNC : Y ekseni etrafında dönen ek bir B ekseni ekleyerek daha da fazla hareket sağlar . Bu, işleme sırasında iş parçasının yeniden konumlandırılması ihtiyacını ortadan kaldırarak daha karmaşık parçaların daha verimli hale getirilmesine izin verir.
5 eksenli CNC makineleri daha çok yönlü ve hassas olsa da , 4 eksenli makineler tipik olarak daha uygun fiyatlı ve daha az karmaşık tasarımlara sahip parçalar için uygundur.

5 eksenli CNC makineleri, hem yazılım hem de donanımdaki gelişmeler sayesinde hızla gelişmektedir. CAM yazılımı daha sezgisel hale geldi ve operatörlerin karmaşık kesintileri kolayca programlamasına ve makine performansını optimize etmesine izin verdi. Bu arada, motorlar, sensörler ve soğutma sistemlerindeki donanım iyileştirmeleri makineleri daha hızlı, daha doğru ve daha enerji tasarruflu hale getirdi.
Otomasyon ve yapay zeka da CNC işlenmesinin geleceğinde artan bir rol oynamaktadır. AI güdümlü sistemler, işleme süreçlerini gerçek zamanlı olarak analiz edebilir ve uyarlayabilir, verimliliği artırabilir ve hataları azaltabilir. Otomasyon, ışıkların dışına işlenmesine izin verir, yani makineler özerk çalışabilir, üretkenliği daha da artırabilir ve işçilik maliyetlerini azaltır.
RBT akıllı ekipmanlarında , bu teknolojik gelişmelerin ön saflarındayız. CNC işleme endüstrisinde 24 yılı aşkın deneyime sahip olan en yeni 5 eksenli CNC makinelerimiz, havacılık, otomotiv ve tıbbi gibi endüstrilerin ihtiyaçlarını karşılamak için tasarlanmıştır.
5 eksenli CNC sistemlerinin geleceği modern üretimi önemli ölçüde değiştirecektir. devam eden iyileştirmelerle Malzemelerde ve makine yeteneklerinde , bu sistemler daha karmaşık tasarımları işleyebilir ve daha fazla hassasiyetle parçalar oluşturabilir. yenilikler, Kompozit malzemelerdeki ve hafif alaşımlardaki daha önce imkansız veya maliyetli olan yüksek performanslı parçalar üretmeyi mümkün kılmaktadır.
5 eksenli makinelerin oldukça karmaşık bileşenler üretme Makineler daha akıllı ve daha yetenekli hale geldikçe, daha hızlı prototipleme, özel parça üretimi ve yüksek hacimli üretim sağlayacak ve endüstrilerin tasarıma ve üretime nasıl yaklaşımlarını yeniden şekillendireceklerdir. yeteneği, havacılık, tıbbi cihazlar ve otomotiv gibi endüstriler üzerinde kalıcı bir etkiye sahip olacaktır.
5 eksenli CNC koordinat sistemi, hassas işlemede hayati bir rol oynar. sunar . Çeşitli endüstrilerde eşsiz Karmaşık kesintileri etkinleştirerek, kısmen üretim için yeni olanaklar açar.Al , doğruluk verimliliği ve çok yönlülük 5 eksenli CNC sistemlerinin işinizi nasıl geliştirebileceğini keşfetmenizi öneririz.
Daha fazla bilgi için ile iletişime geçin veya RBT 5 eksenli CNC makinelerimizden bir demo talep etmek için.
C: gibi endüstriler, Havacılık ve Uzay , Otomotiv , Tıbbi ve Elektronikler karmaşık, yüksek hassasiyetli parçaları ele alma yetenekleri nedeniyle 5 eksenli CNC makinelerinden büyük ölçüde yararlanmaktadır .
C: 5 eksenli CNC makineleri , metal plastikler , ve kompozitler dahil olmak üzere çok çeşitli malzemeleri işleyebilir ve bu da onları çeşitli endüstriler için çok yönlü hale getirebilir.
A: gibi karmaşık geometrilere ve karmaşık kesimlere sahip parçalar Türbin bıçakları , motor bileşenleri ve tıbbi implantlar 5 eksenli işleme için çok uygundur.
A: Yaygın zorluklar arasında kurulum karmaşıklığı , makinesi programlama ve verimliliği ve parça kalitesini etkileyebilecek operatör beceri gereksinimleri yer alır.
C: 5 eksenli CNC sistemi , birden fazla açıdan kesintilere izin verir, hataları azaltır, doğruluğu iyileştirir ve işleme sırasında parça yeniden konumlandırma ihtiyacını ortadan kaldırır.